Multiple Choice Identify the
choice that best completes the statement or answers the question.
|
|
|
1.
|
What personal protective equipment should be worn when using the belt
sander?
a. | Safety glasses | c. | Safety glasses, hearing protection, and a dust
mask | b. | Safety glasses and hearing protection | d. | Safety glasses, hearing protection, dust mask,
and gloves |
|
|
|
2.
|
How should the belt sander be placed when setting it down after sanding?
a. | On its side | c. | In a belt sander stand | b. | On its
Belt | d. | Either a or
c |
|
|
|
3.
|
If the belt sander operator exits the sanding area, what should he/she do before
leaving?
a. | Put the sander on the floor. | c. | Lock the sander trigger
switch. | b. | Place the sander in a sander stand. | d. | Unplug the belt
sander. |
|
|
|
4.
|
To loosen the sanding belt when changing the sanding belt the operator
___________ to loosen the old belt.
a. | moves the belt striker bar | c. | pushes down on the front belt
pulley | b. | move the belt track adjusting knob | d. | pushes down on the rear belt
pulley |
|
|
|
5.
|
To avoid uneven sanding spots in the wood the belt sander operator should
__________.
a. | hold up on the belt sander. | c. | move the sander rather
fast. | b. | move the sander back and forth in smooth even strokes. | d. | apply only light down pressure when
sanding. |
|
|
|
6.
|
When the sanding operation is completed the operator should
_____________.
a. | turn off the belt sander immediately. | c. | pullout the electrical
cord. | b. | let the sand belt come to a stop while resting on the wood. | d. | raise the sander off the wood and allow the bet
to come to a stop. |
|
|
|
7.
|
If the belt sander extends over the end of the material while it is being sanded
it will ________________.
a. | cause no harm. | c. | cut and break the sand belt. | b. | remove an excessive
amount of material from the end. | d. | cause the sand belt to need a track adjustment. |
|
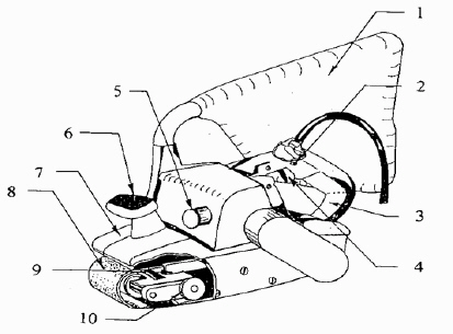
Matching
|
|
|
a. | Belt | f. | Dust Bag | b. | Front Handle | g. | D-Handle | c. | Switch
Lock | h. | Belt Striker
Bar | d. | Belt Track Adjusting Knob | i. | Brush Holder | e. | Aluminum Housing | j. | Trigger Switch |
|
|
|
8.
|
#1
|
|
|
9.
|
#2
|
|
|
10.
|
#3
|
|
|
11.
|
#4
|
|
|
12.
|
#5
|
|
|
13.
|
#6
|
|
|
14.
|
#7
|
|
|
15.
|
#8
|
|
|
16.
|
#9
|
|
|
17.
|
#10
|