Multiple Choice Identify the
choice that best completes the statement or answers the question.
|
|
|
1.
|
When cutting with the reciprocating saw, why must the saw be held firmly?
a. | The shape of the saw makes it easy to slip out of the hands. | c. | Cutting positions
are awkward and can easily cause the operator to drop the saw. | b. | The material being
cut is not secured and causes the saw to vibrate a lot. | d. | The saw vibrates a lot which can lead to the
saw being dropped by the operator. |
|
|
|
2.
|
The reciprocating saw should not be operated close to other workers because
_______________.
a. | it is noisy. | c. | the saw runs at excessively high speed. | b. | it vibrates a lot
and blade is unguarded. | d. | all
of these. |
|
|
|
3.
|
Binding the blade on the reciprocating saw may cause _____________.
a. | the blade to break. | c. | the saw motor to overheat and burn out. | b. | the blade to
bend. | d. | damage to the
material being cut. |
|
|
|
4.
|
The rocker shoe on the reciprocating saw should be placed ____________ when
cutting.
a. | close to the work | c. | against the work | b. | away from the work | d. | below the work |
|
|
|
5.
|
If the reciprocating saw requires a lot of pressure to get it to cut in should
_____________.
a. | be held in a different position. | c. | be adjusted to a higher cutting
speed. | b. | have the blade changed. | d. | have the cutting position changed. |
|
|
|
6.
|
To make a plunge cut with the reciprocating saw the operator should
______________.
a. | push the blade straight into the material. | c. | move the blade into the material
from a vertical position. | b. | put the rocker shoe on the material and tilt
the blade forward at a slow pace. | d. | push the saw at a slow speed and move the blade into the
material. |
|
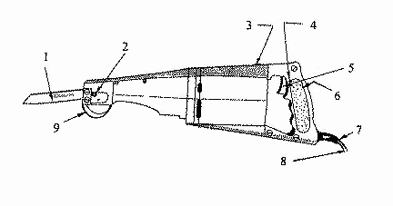
Matching
|
|
|
a. | On/Off Switch | f. | Blade Set Screw | b. | Rocker Shoe | g. | Handle | c. | Electrical
Cord | h. | Brushes | d. | Switch Lock | i. | Blade | e. | Cord Strain
Reliever |
|
|
|
7.
|
#1
|
|
|
8.
|
#2
|
|
|
9.
|
#3
|
|
|
10.
|
#4
|
|
|
11.
|
#5
|
|
|
12.
|
#6
|
|
|
13.
|
#7
|
|
|
14.
|
#8
|
|
|
15.
|
#9
|