Multiple Choice Identify the
choice that best completes the statement or answers the question.
|
|
|
1.
|
The guards on the band saw should be adjusted to be approximately
__________.
a. | 1/16 to 1/8 inch above the stock | c. | 1/4 to 1/2 inch above the
stock | b. | 1/8 to 1/4 inch above the stock | d. | 1/2 to 1 inch above the
stock |
|
|
|
2.
|
When sawing small stock, you should always use a ___________.
a. | push stick | c. | hand rail | b. | line guard | d. | round guide |
|
|
|
3.
|
The blade on the band saw should be installed with the teeth pointing
_________.
a. | downward for cutting hardwood only | c. | upward for cutting both softwood
and hardwood | b. | upward for cutting softwood only | d. | downward for cutting both softwood and
hardwood |
|
|
|
4.
|
Relief cuts are cuts made with the band saw. They __________.
a. | are cuts made in a hurry | c. | are special cuts for
hardwood | b. | prevent the blade from binding | d. | are special cuts for
softwood |
|
|
|
5.
|
In freehand cutting on the band saw, it is safe to ___________.
a. | hold round stock in the hand | c. | place stock flat on the
table | b. | force stock around the curves | d. | back out of curved
cuts |
|
|
|
6.
|
It is safe to place the hand in line with the blade of the band saw
__________.
a. | only when the machine is not operating | c. | only when the hand is more than
4” from blade | b. | only when the hand is more than 2” from
blade | d. | only when the hand is
more than 6” from blade |
|
|
|
7.
|
While operating the band saw, it is a safe practice to _____________.
a. | open bandsaw covers very carefully | c. | maintain a balanced stance at all
times | b. | reach across material being cut on table | d. | wait until the end of class to clean up
scraps |
|
|
|
8.
|
Which of the following is the correct procedure to determine if the blade is
operating on the middle of the band saw wheel?
a. | Turn the wheel by hand to check | c. | Open wheel covers while it is
coasting | b. | Turn on power for very short periods | d. | Open wheel covers as brake is
applied |
|
|
|
9.
|
When you give work your individual attention, you __________.
a. | look around | c. | concentrate on the work at hand | b. | talk to your
helper | d. | think about
assignment for next period |
|
|
|
10.
|
The correct blade width to use for a specific job depends on __________.
a. | how fast you want to cut | c. | what blade is
available | b. | the radius of the cut | d. | type of material to be cut |
|
|
|
11.
|
The best time to remove scrap material from the band saw is ___________.
a. | when the saw stops | c. | after excessive scrap build-up | b. | as you
work | d. | depends on
job |
|
|
|
12.
|
If necessary to back the blade out of a cut __________.
a. | leave the power on so it comes out smoothly | c. | leave the power on and loosen the
blade tension | b. | turn the power off and then free the blade | d. | leave the power on but use brake to reduce
speed |
|
|
|
13.
|
If too much cutting pressure has to be applied to get a cut, the blade
__________.
a. | is dull | c. | needs readjusting | b. | is too loose | d. | guides need
adjusting |
|
|
|
14.
|
If you hear a rhythmic click as the wood is being cut, this usually
indicates that:
a. | tension is too tight | c. | blade is cracked | b. | tension is too loose | d. | blade is
hardened |
|
|
|
15.
|
If the blade breaks on the band saw, shut off the power and ___________.
a. | try to remove blade | c. | move away quickly | b. | put on the brake | d. | remove your
work |
|
Matching
|
|
|
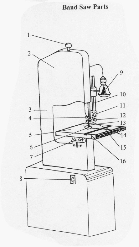
a. | Table Insert | i. | Blade Slot | b. | Guide Post Locking Screw | j. | Blade | c. | Table Angle
Scale | k. | Blade
Guides | d. | Guide Post | l. | Table | e. | Switch | m. | Blade Tensioning Screw | f. | Work
Lamp | n. | Thrust
Bearing | g. | Miter Guage Slot | o. | Blade Cover | h. | Guide Locking Screw | p. | Arm |
|
|
|
16.
|
#1
|
|
|
17.
|
#2
|
|
|
18.
|
#3
|
|
|
19.
|
#4
|
|
|
20.
|
#5
|
|
|
21.
|
#6
|
|
|
22.
|
#7
|
|
|
23.
|
#8
|
|
|
24.
|
#9
|
|
|
25.
|
#10
|
|
|
26.
|
#11
|
|
|
27.
|
#12
|
|
|
28.
|
#13
|
|
|
29.
|
#14
|
|
|
30.
|
#15
|
|
|
31.
|
#16
|